アップル大好きNOBON厳選の本日摘み取った旬なリンゴの話題をお届け(≧∀≦*)ノ
- アップルの気になるお話(≧∀≦)b!!
- Apple、丸型Apple Watch開発を模索中? >> ふーてんのiPad
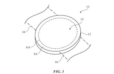
- Apple、円形Apple Watchの特許を取得 & そのコンセプト動画 >> Blog!NOBON+
- Appleが円形Apple Watchの特許取得 >> 平成鸚鵡籠中記
- Apple純正イヤフォン(EarPods)の代わりに最適。ハイレゾ対応高音質イヤフォン「SoundPEATS B90」レビュー【PR】 >> アナザーディメンション
- Apple TV Appでサブスクリプション提供? >> ITmedia NEWS
- ラルフローレン、社外取締役として、AppleのAngela Ahrendts氏を迎えると発表 >> MACお宝鑑定団のBlog
アップルの気になるお話(≧∀≦)b!!
Apple、丸型Apple Watch開発を模索中? >> ふーてんのiPad

Apple、円形Apple Watchの特許を取得 & そのコンセプト動画 >> Blog!NOBON+

Appleが円形Apple Watchの特許取得 >> 平成鸚鵡籠中記
Apple純正イヤフォン(EarPods)の代わりに最適。ハイレゾ対応高音質イヤフォン「SoundPEATS B90」レビュー【PR】 >> アナザーディメンション
Apple TV Appでサブスクリプション提供? >> ITmedia NEWS
ラルフローレン、社外取締役として、AppleのAngela Ahrendts氏を迎えると発表 >> MACお宝鑑定団のBlog
その他の気になるネタ(≧∀≦)b!!
実際の風景に案内を表示!! Googleマップ新機能「ARナビゲーション機能」発表。 >> iPhone+iPad FAN (^_^)v
エンゼルスGMが明かした大谷翔平の「ある能力」 >> 文春オンライン
【MLB】イチロー全3089安打の分布図動画、再生伸び続け…米ファン“感動”「史上最高」 >> フルカウント
I got a ton of requests for this…. A time lapse for every hit of Ichiro's @mlb career. pic.twitter.com/w8uhzlSnp0
— Daren Willman (@darenw) 2018年5月6日



コメント