ども NOBONです:)
iPhone 11シリーズでカメラの出っ張り具合がずいぶん和らいだとはいうものの、あいかわらず出っ張っています。

やっぱり、アップルも良しとは思っていなかったようで、出っ張りカメラ脱却に向けた特許を取得したようです。
Just a moment...
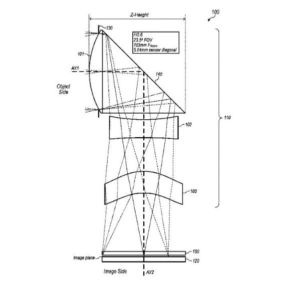
今回、米国特許商標庁から付与された特許は「5つの屈折レンズを備えた折り畳みレンズシステム」と「3つの屈折レンズを備えた別のレンズ 」というタイトルの特許で、このカメラ構造を使えば、出っ張りを抑えながらもセンサーやレンズ間の距離確保も可能です。
このペリスコープ(潜望鏡)タイプのカメラであれば、従来のiPhoneカメラの出っ張りはもちろん、本体の厚みも薄くできるかもしれません。
もしかしたら出っ張りがなくなる??
面白いのは、今回の特許は、望遠レンズはもちろん広角レンズも視野に入れているのです!!
もしかしたらウルトラスーパー超広角カメラ実現??
[amazon_link asins=’B07S72VR9T,B07XM7ZFY3′ template=’Kindle’ store=’blognobon-22′ marketplace=’JP’ link_id=’22a562a5-8d4d-4f78-9c8c-60cf38938af5′]


コメント
潜望鏡式って、前からディマージュXtとかコンデジでは珍しくないけど特許取れるのかな?
「携帯電話用部品」とかの括りなら取れるのかな?