【】りんごリンクとは・・・
このブログの管理人であるApple大好き NOBON が厳選する
本日摘み取った旬なリンゴの話題をまとめてお届けするリンク集です(≧∀≦*)ノ
おたのしみくだしゃい:)
▼▼▼ AppleとIT関連の気になるお話(≧∀≦)b!!

Apple Watchの心電図機能が日本で使えるかもというお話 - Hu Life with Apple
Apple WatchにはSeries 4から心電図測定機能が搭載されているのですが、医療機器に関する規制の影

Apple初の折りたたみiPhoneは、2台のディスプレイをヒンジで繋いだものになる?
折りたたみiPhone,iPhone Foldable,折り畳み式iPhone,iPhone Microsoft Surface Neo,iPhone LG G8X,iPhone Fold,iPhone フォールド,Galaxy Fold,

iPhone+iPadのような、折りたたみ式iデバイスを開発中? - iPhone Mania
Growing more confident in saying that Apple should make a folding phone. 4 months in with the z flip and I feel pretty c

MacはFace ID対応を示唆するコード発見、次期iMacはiPad Pro風? - iPhone Mania
MacID!!! pic.twitter.com/ObF1c1pMWu

Appleの折りたたみiPhoneは2画面でノッチなし?
Surface Duo風…?世はまさに折りたたみスマートフォンの時代ですが、もしかするとApple(アップル)も折りたたみiPhoneの開発を進めているのかもしれません。 Jon Prosser氏のTwitterでの発言によると、Apple

Apple、WWDC 2020 Special EventをYouTubeでも公開
Appleは、YouTubeでもWWDC 2020 Special Eventを公開予定です これによると、日本時間6月23日 2:00開始となっており、リマインダーを設定することで開始の知らせが届くようになっています WWDC Speci

1年間無料 & スマホ本体が実質無料!! 「Rakuten UN-LIMIT」に申込んでみた。 | iPhone + iPad FAN (^_^)v
楽天モバイルの自社回線サービス「Rakuten UN-LIMIT 月額2,980円が、1年間無料という超絶キャ

Adobe、「Photoshop」と「Lightroom」のiPad版をアップデート − 両アプリで作業の連携が可能に | 気になる、記になる…
本日、Adobeが、「Photoshop for iPad」と「Lightroom for iPad」をアップデートています。 Photoshopでのみ提供されているツールを使用する必要がある場合に、iPadでLightroomからPhot
ソニー、重低音「EXTRA BASS」シリーズのBluetoothスピーカー3機種発売 | APPLE LINKAGE

Twitterで「WWDC20」の絵文字が期間限定で利用可能に | 気になる、記になる…
現在、Twitterで、「WWDC20」に関する絵文字が利用可能になっています。 「WWDC20」の絵文字は「#WWDC20」と投稿することでハッシュタグの後ろに自動的に表示されるものとなっており、そのデザインは上記画像の通り。 この絵文字

iPad ProのMacBook化のジレンマ | 令和鸚鵡籠中記
★土岐正造とその仲間が雑多な興味の対象について、好き勝手に書き散らすBlogです。

無料で美麗な絵画やカオスなポスターなどがダウンロードし放題、編集や商用利用も可能な「Artvee」が登場
巨匠が描いた絵画から本の挿絵、ポスターなどさまざまな画像を無料で閲覧・ダウンロード可能な「Artvee」が公開されています。Artveeに掲載されているアートワークはどれもパブリックドメインなので、自由に利用・編集・再頒布が可能で商用利用も

「AirPods」、将来的にLightningポートが廃止され完全ワイヤレス設計に?? | 気になる、記になる…
著名リーカーの有没有搞措氏が、「AirPods」は将来的に完全ワイヤレス設計になることを示唆するツイートを行っています。 現在の「AirPods」シリーズはワイヤレス充電に対応したケースが付属しているものの、Lightningポートを搭載し

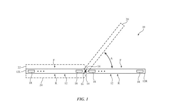
Appleが折りたたみデバイス関連の特許を取得〜ヒンジがポイント - iPhone Mania
Apple’s “foldable” iPhone isn’t really a foldable. ?

次期iMacのモノと思われる「アゴ無し均等ベゼルのアイコン」がiOS 14から発掘される
どもNOBONです:)次期iMacは大幅なデザイン変更が期待されていますが、もしかしたらその痕跡かもしれないアイコンらしき画像がみつかったようだと、Gizmodoさんが紹介していたのでご紹介です。iOS 14から発掘されたという、その次期i
ページが見つかりませんでした – Apple-Style
▼▼▼ その他の気になる話題(≧∀≦)b!!

深まる謎。なぜ、政府は「イージス・アショア」を中止したのか? - まぐまぐニュース!
以前掲載の「住民説明会で居眠り、Google Earthで測量。防衛省の呆れた不始末」等でもお伝えしたとおり、国の不手際ばかりが目立った新型迎撃ミサイルシステム『イージス・アショア』の配備計画ですが、6月15日、その停止が発表されました。な

アフターコロナで「韓国企業」に欠落し「日本企業」にある強さ 自力で国力を高めるための条件
新型コロナウイルスの感染拡大が、世界経済の景色を大きく変えている。感染拡大阻止のため人々の動きが抑えられ、テレワークの重要性が高まっている。それに伴い、旅行や小売り、自動車などの売れ行きが大きく低下…

人間が想像すらできない「色」を鳥が見ていることが3年にわたる実験で示される
人間の目は赤・緑・青という3つの光の波長を知覚し、それを組み合わせることで多くの「色」を識別していますが、自然界には人間が知覚できない色を識別している生物も存在します。3年にわたる実験で、鳥が人間に識別できない「紫外線」まで識別し、人間とは


コメント