【】りんごリンクとは・・・
このブログの管理人であるApple大好き NOBON が厳選する
本日摘み取った旬なリンゴの話題をまとめてお届けするリンク集です(≧∀≦*)ノ
おたのしみくだしゃい:)
▼▼▼ AppleとIT関連の気になるお話(≧∀≦)b!!

iPhone 9のコンセプトビデオが公開される
4.7インチiPhone Appleは3月に新しい4.7インチiPhoneをリリースすることを計画しています。これは本質的に内部が強化されたiPhone 8になります。多くの人が4インチiPhone SEの真の後継機を望んでいましたが、今後

デバイス購入特典の「Apple TV+」1年無料の登録期限が過ぎていた..。 | iPhone + iPad FAN (^_^)v
2019年11月に開始された「Apple TV+」。 iPhone、iPad、Macなど「Apple TV+」

「+メッセージ」利用者が1,500万人突破、3大キャリアがキャンペーン開始 - iPhone Mania
NTTドコモ、KDDI、ソフトバンクの大手キャリア3社は、「+メッセージ」の利用者数が1,500万人を突破したと発表しました。各社が、抽選で1,000円相当のポイントをプレゼントするキャンペーンを実施しています。 2018年5月にサービス開

FoxconnなどのAppleの主要サプライヤー、中国本土で2月10日より生産を本格的に再開か | 気になる、記になる…
現在、中国では新型コロナウィルスの影響でほぼ全土で春節の休みが1週間延長された状態となっており、各種工場なども操業をストップしたままですが、本日、Bloombergが、台湾のFoxconnやQuantaなど、Appleの中華圏の主要サプライ

Appleが一般ユーザー向け出張修理サービス開始 | 令和鸚鵡籠中記
★土岐正造とその仲間が雑多な興味の対象について、好き勝手に書き散らすBlogです。
MacBook Pro/Air用7-in-1 USB-Cマルチハブが50%オフ | APPLE LINKAGE

AndroidとiOSで100% - 12月タブレットOSシェア
Net Applicationsから2019年12月のタブレットOSのシェアが発表された。2019年12月はAndroidがシェアを増やし、iOSがシェアを減らした。AndroidとiOSの合算値は先月も今月も100%とされており、Andr

BANGSATOGEL # Tempat Untuk Memborong Banyak Hadiah Besar
BANGSATOGEL merupakan sebuah platform game putaran online terviral dengan mudahnya memborong banyak hadiah besar yang te

YouTubeの年間売上高は約1兆6,000億円、Googleが初公開 - iPhone Mania
Googleが、YouTubeの業績を初公開しました。YouTubeの年間広告売上高は150億ドル(約1兆6,000億円)で、サービス開始から約1年半あまり経ったYouTube Premiumの有料会員数は約200万人です。 YouTube

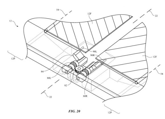
Apple、ディスプレイ部分が折りたためるiPhoneの新特許を取得 - iPhone Mania
前述のMotorola Razrの登場に加え、TCLも折りたたみスマホを開発中であると発表しています。またSamsungも折りたたみスマホ第2号として、縦に折りたたむGalaxy Z Flipの発表を控えており、折りたたみスマホは今年も複数
LaCie、外付けハードディスク4モデルを発売 | APPLE LINKAGE
ページが見つかりませんでした – Apple-Style


コメント